近日,中建交通江西分公司娄底PPP项目研究的《一种新型市政道路用安全隔离栏》获得国家知识产权局授权的实用新型专利。
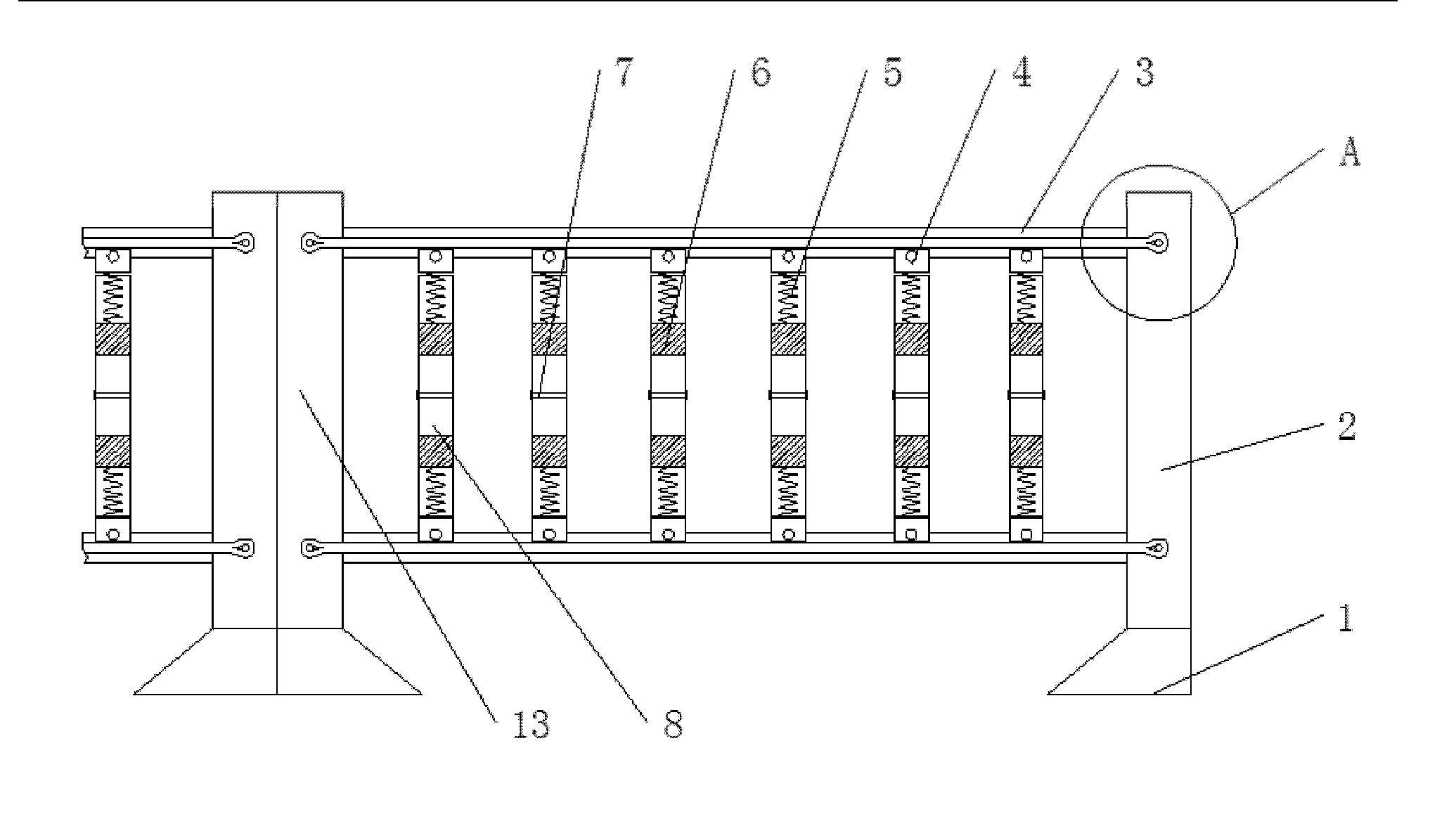
据了解,现今使用的安全隔离栏多为一体式,运输拆卸都非常麻烦,隔离栏的连接又多是刚性连接,受到碰撞后极易损坏和变形,并且维护不便。而此实用新型专利通过T形卡柱和T形卡槽的配合,简化了运输和安装过程;具有弹性的竖杆,被撞击后能快速回复原貌,减少了维护成本;每一根竖杆都可以单独拆装,并具有高度互换性,即便是遭到毁灭性破坏,只需拆除损毁的竖杆替换便可,方便了后期维护;在横杆内部设置连接杆,增加了横杆与两端立柱之间的连接强度,而且便于拆卸,方便维护。(江西分公司 冉莹)

